
تجريدي
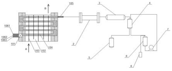
يتعلق نموذج المنفعة هذا بمجال تكنولوجيا التخليق العضوي ، وبشكل أكثر تحديدًا ، يتعلق بنظام إنتاج مستمر للأسيتونيتريل القائم على الفينيل. يتضمن نظام الإنتاج مفاعلات ميكروية متصلة بالتتابع ، ومفاعلات تأخير ، وآليات تبريد ، وأجهزة فصل الطور. تم تجهيز جهاز فصل الطور بمدخل للمرحلة السائلة ، ومخرج لمرحلة الزيت ، ومخرج للمرحلة المائية. يتم توصيل مخرج الطور الزيتي بجهاز تحبيب التبريد ، ويتم توصيل منفذ الطور المائي بأول جهاز تبخير وجفاف منخفض الحرارة بالتفريغ. تم تجهيز أول جهاز تبخير ودرجة حرارة منخفضة بالتفريغ بمنفذ تفريغ ، متصل بمدخل جهاز فصل الطور من خلال مضخة دوران. يجمع نموذج المنفعة هذا بين المفاعلات الدقيقة ومفاعلات التأخير مع تحكم دقيق في درجة الحرارة لتجنب ارتفاع درجة الحرارة المحلية ، والتي يمكن أن تؤدي إلى ردود فعل غير مرغوب فيها ، مثل بلمرة أو تحلل الأسيتونتريل القائم على الفينيل أمين ، وبالتالي تقليل محتوى سمك القد.
1
نظام إنتاج مستمر للأسيتونيتريل المستند إلى الفينيل ، يتميز بمفاعلات ميكروية متصلة بالتسلسل ، ومفاعلات تأخير ، وآلية تبريد ، وجهاز فصل الطور. تم تجهيز جهاز فصل الطور بمدخل للمرحلة السائلة ، ومخرج لمرحلة الزيت ، ومخرج للمرحلة المائية. يتم توصيل مخرج الطور الزيتي بجهاز تحبيب التبريد ، ويتم توصيل منفذ الطور المائي بأول جهاز تبخير وجفاف منخفض الحرارة بالتفريغ. تم تجهيز أول جهاز تبخير ودرجة حرارة منخفضة بالتفريغ بمنفذ تفريغ ، متصل بمدخل جهاز فصل الطور من خلال مضخة دوران.
2
نظام الإنتاج المستمر للأسيتونيتريل القائم على الفينيل أمين وفقا للمطالبة 1 ، حيث يستخدم ميكروريكتور ميكروريكتور عالية الإنتاجية تدفق مستمر ميكروريكتور.
3
نظام الإنتاج المستمر للأسيتونتريل القائم على الفينيل أمين وفقا للمطالبة 1 ، حيث يستخدم مفاعل التأخير مفاعل تيار جانبي تفاضلي.
4
نظام الإنتاج المستمر للأسيتونتريل القائم على الفينيل أمين وفقا للمطالبة 1 ، حيث يستخدم جهاز فصل الطور فاصل الطور الأوتوماتيكي أو جهاز طرد مركزي لفصل الطور السائل-السائل.
5
نظام الإنتاج المستمر للأسيتونيتريل القائم على الفينيل أمين وفقا للمطالبة 1 ، حيث يتضمن أول جهاز تبخير وجفاف يعمل بالتفريغ ودرجة حرارة منخفضة مبخر ، ويستخدم المبخر مبخر فيلم السقوط ، مرجل دوران قسري ، أو مرجل سيفون.
6
نظام الإنتاج المستمر للأسيتونيتريل القائم على الفينيل أمين وفقا للمطالبة 5 ، حيث يستخدم المبخر مبخر فيلم السقوط.
7
نظام الإنتاج المستمر للأسيتونيتريل القائم على الفينيل أمين وفقا للمطالبة 1 ، كما تضم فراغا الثانية منخفضة درجة الحرارة التبخر وجفاف الجهاز ، الذي يتم وضعه بين مخرج الطور الزيتي وجهاز التحبيب بالتبريد لجهاز فصل الطور.
8
نظام الإنتاج المستمر للأسيتونيتريل القائم على الفينيل أمين وفقا للمطالبة 7 ، حيث يتضمن جهاز التبخر والجفاف الفراغي الثاني ذو درجة الحرارة المنخفضة مبخر ، ويستخدم المبخر مبخر فيلم السقوط ، مرجل دوران قسري ، أو مرجل سيفون.
الوصف
المجال التقني
يتعلق نموذج المنفعة هذا بمجال تكنولوجيا التخليق العضوي ، الذي يتضمن على وجه التحديد نظام إنتاج مستمر للأسيتونيتريل القائم على الفينيل أمين.