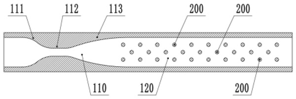
تنتمي براءة نموذج المنفعة إلى المجال التقني للمعدات الكيميائية ، وتقدم أنبوبًا تفاعلًا سريع الانحلال ، بما في ذلك جسم أنبوبي ، يتم توفيله مع منطقة الانحلال ومنطقة تحير ، يتم توفير منطقة الانحلال على طول اتجاه تدفق المواد مع قسم انكماش ، قسم الحلق وقسم التوسع بالترتيب ، يتم توفير منطقة الحير مع العديد من الأعضاء المحيرة.
في براءة اختراع نموذج المنفعة هذه ، تُستخدم منطقة الانحلال في جسم الأنبوب لتفتيت مادة التفاعل ، وتزداد مساحة ملامسة مادة التفاعل بعد الانحلال ، وهو أكثر ملاءمة لعملية النقل الجماعي لمواد التفاعل ؛ ثم يتم استخدام منطقة الخلط لتغيير مسار تدفق مادة التفاعل ، وذلك لتحسين تأثير خلط مادة التفاعل ، ومن ثم تحسين كفاءة نقل الكتلة لمواد التفاعل ، أي أن أنبوب التفاعل في براءة نموذج المنفعة هذا له ميزة كفاءة نقل الكتلة العالية ، يمكن أن يقلل من حدوث ردود الفعل الجانبية ويحسن جودة وكفاءة الإنتاج.

في عملية الإنتاج الكيميائي ، يجب إكمال إنتاج العديد من المنتجات الكيميائية عن طريق التفاعلات الكيميائية ، والتي تنقسم عمومًا إلى عمليات تفاعل مستمرة وعمليات تفاعل متقطعة.
يجب تنفيذ عملية التفاعل المتقطع في المفاعل ، ويواجه التفاعل المتقطع مشاكل وقت رد الفعل الطويل ، وانخفاض استخدام المعدات وضعف القدرة الإنتاجية لمفاعل واحد.
بينما تتم عملية التفاعل المستمر في مفاعل أنبوبي ، والذي يستخدم عادة لإجراء عملية تفاعل قوية للحرارة أو عملية تفاعل قوية ممتصة للحرارة ، يحتوي المفاعل الأنبوبي على العديد من أنابيب التفاعل التي يتم فيها تفاعل مواد التفاعل كيميائيًا لإنتاج المنتجات.
في الوقت الحالي ، من أجل تحسين كفاءة النقل الجماعي لمواد التفاعل في أنابيب المفاعل ، نضيف عادة أعضاء محيرة إلى أنابيب المفاعل ، التي تستخدم لتغيير مسار تدفق مواد التفاعل وبالتالي تحسين تأثير الخلط بين مواد التفاعل.
ومع ذلك ، بما أن أعضاء البللينغ في أنبوب التفاعل عادة ما تكون من هياكل يربك ، يمكن تحسين كفاءة نقل كتلة مادة التفاعل إلى حد محدود ، لذلك هناك حاجة ملحة لتطوير أنبوب تفاعل بكفاءة نقل كتلة أعلى.